Catalog
News
11.04.2018 00:41:00
www.RuTubes.com goes on vacation from 11 to 27 April 2018. You can purchase items, but there may be...
05.06.2015 10:31:30
www.RuTubes.com is going on vacation from June 06 to June 22, 2015 . You may purchase the...
13.09.2014 16:19:21
Discount Coupon
For all customers: 960a5805b8
Valid through: 20.09.2014 23:59:59...
Articles
Viewed Products
Search Form
BY MANUFACTURES | BY KEYWORD’S | |
Relay RES-10.0102 |
Product description
Datasheets
Other Info
Description
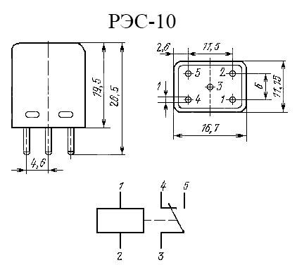
RES10 model РС4.524.300
Not sealed, two-position, monostable relay DC RES10 designed to switch electrical circuits of direct and alternating current of 50 ... 1100 Hz.

General characteristics:
Coil resistance, ohm: 3825 - 5175
Current operation, mA: 6
Current release, mA: 0.8
Operating current, mA: 7-12
Operating voltage, V: -
Insulation resistance:
- under normal climatic conditions, mOm: 200
- under conditions of high humidity, mOm: 10
- at a maximum temperature, mOm: 1
- time relay, ms: 5-8
- release time, ms: 2.5-4.5
Mass, g: 7.5
More info about relay here.
Other Info

